Газоанализатор кислорода ГК-1

Газоанализатор кислорода ГК-1

Предзаказ
Рейтинг:


  • Производитель: Россия
  • Артикул: 1651

Сертификация
Доставка
Оплата
13 лет на рынке

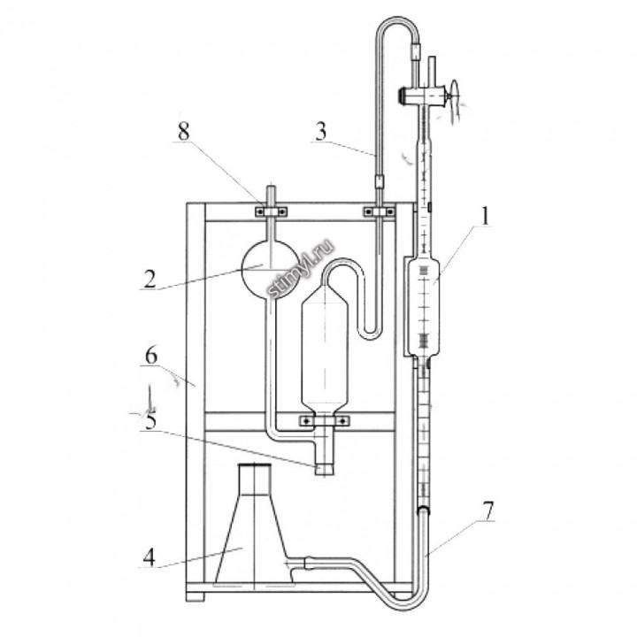
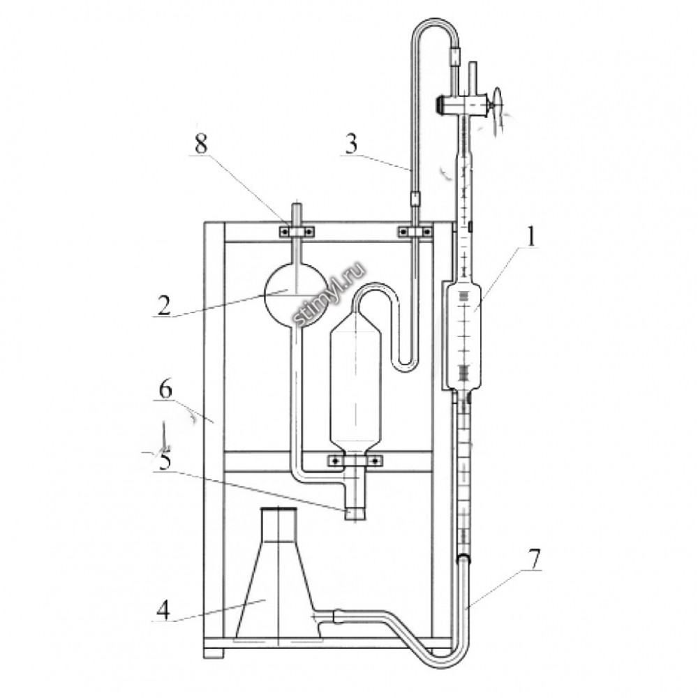
Газоанализатор кислорода ГК-1 предназначен для определения процентного содержания кислорода в техническом и медицинском кислороде и кислородосодержащих газовых смесях при контроле продукционного кислорода и при технологическом контроле работы воздухоразделительных установок. Состоит из:

  1. бюретки Гемпеля
  2. пипетки Гемпеля
  3. трубки соединительной
  4. сосуда уравнительного
  5. резиновой пробки
  6. стеклянные детали закрепляются на штативе
  7. соединенного с пипеткой Гемпеля резиновой трубкой
  8. скоб

Принцип действия газоанализатора основан на поглощении кислорода медными спиралями, помещаемыми в расширенной цилиндрической части пипетки Гемпеля.Вместимость бюретки Гемпеля (от нулевой отметки до пробки крана), мл - 100±0,25Цена деления шкалы и допустимая погрешность бюретки при температуре (20±5)ºС, мл:

Диапазон измерения, мл Цена деления, мл Допустимая погрешность, мл
0 - 10 15 - 75 85 - 95 98 - 100 0,1 1,0 0,2 0,05 0,1 ± 1,0 ± 0,2 ± 0,05

Габаритные размеры, мм - 295х175х635Шифр –1651ТУ 4321-004-07609129-97

Шифр изделий, входящих в прибор
1555 Бюретка Гемпеля
1718 Пипетка Гемпеля
2890 Сосуд уравнительный
Характеристики
ГОСТ/ТУ
4321-004-07609129-97
Материал
Стекло

Написать отзыв

Внимание: HTML не поддерживается! Используйте обычный текст!
Я прочитал Политика конфиденциальности и согласен с условиями

Документы

Документы на товар доступны только клиентам. Свяжитесь с нами и мы вышлем на ваш e-mail:

  • сертификаты
  • паспорта
  • инструкции
  • ГОСТ и ТУ

Цена и наличие

Цену и наличие уточняйте у наших специалистов. Описание и фото товара носят информационный характер и могут отличаться от описания, представленного в технической документации производителя. Обращаем ваше внимание на то, что данный интернет-сайт носит исключительно информационный характер и ни при каких условиях не является публичной офертой, определяемой положениями Статьи 437 Гражданского кодекса Российской Федерации. Рекомендуем перед покупкой проверять характеристики товара у наших менеджеров.